|
|
|
DOCK HARDWARE IN BC AND ALBERTA CANADA
 |
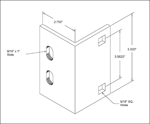
| (H-CA) The cleat angle has slots
that accommodate various cleat sizes. Bolt the cleat
angle to the side stringer using a Washer Plate (H-W).
Then bolt the cleat through the deck into the cleat
angle. This will ensure that the cleat will not pull
out of the deck. |
|
|
|
Related items that you may need. Click to view.
 Build-A-Dock
 Dock Accessories
 Ace Floats
|